其他产品系列

KXL-X1黄铜浮球阀

技术规范:

公称压力:0.04MPa≤PW≤0.6MPa 
工作介质:水
工作温度 :0℃≤t≤60℃
管螺纹标准:符合ISO228标准

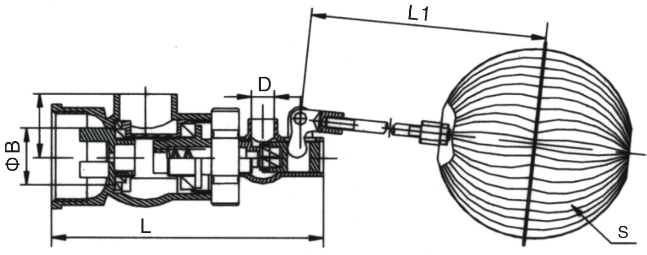
产品详情


黄铜浮球阀1 (2).jpg



DN(mm)

NPS(in)

L

L1

H

S

ΦB

40

11/2

141

192

29

100

30

50

2

142

192

36.8

100

30

80

3

210

192

65

100

60

100

4

233

192

70.3

100

60


上一个:KXF-X1黄铜浮球阀

下一个:718压差阀